13wx90as009 Wiring Diagram
Cub Cadet Model 13wx90as009 Wiring Diagram. Search for parts using your model number or the part number you are replacing.
![]()
Cub Cadet Ltx 1040 13wx90as009 Cub Cadet 42 Lawn Tractor 2010 Parts Lookup With Diagrams Partstree
Where is the fuse box on a cub cadet ltx - Answered by a verified Technician.
13wx90as009 wiring diagram. Need to fix your LTX1040 13AX90AS056 13WX90AS009 13WX90AS010 13WX90 2014 Tractor. LTX 1040 13WX90AS009 - Cub Cadet 42 Lawn Tractor 2011 LTX 1040 13AX90AR010 - Cub Cadet 42 Lawn Tractor. These manuals are for reference purposes only - once you are ready to purchase please either type the exact part number in the search box above or click the Parts Lookup tab above to use our advance Cub.
Depending on the data we took from. What air filters will fit my cub. Hello all newbie here to help out a friend who has removed his key ignition from the wiring harness and has forgotten how to reconnect.
Amazon Com Cub Cadet Ltx1040 Deck Belt For Specific 2009 Models. Scotts S1742 Parts Diagram. Below weve added a selection of service manuals for some of the most popular Cub Cadet mowers tractors zero-turns and snow blowers.
Parts lookup and repair parts diagrams for outdoor equipment like Toro mowers Cub Cadet tractors Husqvarna chainsaws Echo trimmers Briggs engines etc. Brought to you by. Section 13 WIRING DIAGRAMS Sub-Section 01 WIRING DIAGRAMS WIRING DIAGRAMS WIRE COLOR CODES AMP CONNECTOR First color of a wire is the main color.
Second color GS GSI GSX GTI and XP Models is the tracer. Order Status Customer Support 512-288-4355 My Account. You most likely already know that seadoo xp wiring diagram is among the top topics on-line these days.
I will have to take a few minutes to study the wiring diagram to be sure http. Cub Cadet LTX1040 13WX90AS010 13WX90AS056 13WX90AS009 13AX90 2012 Tractor Parts. Huskee Supreme Slt 4600 Wiring Diagram.
Cub Cadet Model 13wx90as009 Wiring Diagram. 2182 Cub Wiring Diagram -1995 Bmw 740i Fuse Box Diagram Begeboy Wiring Diagram Source. Lire ou tlcharger Cub Cadet Wiring Schematic For Model Number For 433233100 Gratuitement For 433233100 at DIAGRAM-SYNONYMGLOBALIMPETUSCOM.
Cub cadet model 13wx90as009 wiring diagram 11. Parts lookup and repair parts diagrams for outdoor equipment like Toro mowers Cub Cadet tractors Husqvarna chainsaws Echo trimmers Briggs engines etc. Here is his Channel.
Cub Cadet Model 13wx90as009 Wiring Diagram. Can someone please send a wiring diagram or picture of the wire color orderposition around the ignition switch tabs. Front Rear Wheels.
Snapper Lt200 Belt Diagram. Use our parts diagram tool below to find the parts you need for your machine. We hope you enjoyed it and if you want to download the.
Thank You Steve O. Use our part lists interactive diagrams accessories and expert repair advice to make your repairs easy. Need to fix your ltx1040 13ax90as056 13wx90as009 13wx90as010 13wx90 2014 tractor.
Cub Cadet Model 13wx90as009 Wiring Diagram Beautiful Cub Cadet Ltx1040 13ax90as056 13wx90as009 13wx90as010 Uploaded by admin on Wednesday March 21st 2018 in category wiring diagram. Snapper Lt200 Belt Diagram. Industry Nite Industry night Matthew Ohio Industry Nite is Nigerias foremost talent discovery and artist showcase platform created for both upcoming and established acts to showcase their talents while helping them build up their career in music.
The Brilliant as well as Beautiful cub cadet model 13wx90as009 wiring diagram intended for Invigorate Your home Current HomeCozy WishResidence. Scotts S1742 Parts Diagram. The seal cost about take the wheel off and dont lose the wheel key slide off the washer take a screwdriver and pry the old one out and replace with the new one.
Toro Timecutter Z5000 Wiring. Fuel Tank Hood Dash. Do you have the exact model number of the unit.
Select the model and year then browse the parts diagrams to find the right part. Add to cart when youre ready to. Cub Cadet Parts Diagrams Cub Cadet LTX1040 Tractor 2011 13WX90AS009 2011 13WX90AS010 2011 13WX90AS056 2011 13WX90AS210 2011 13WX90AS256 2011 Quick Reference Attachment.
Lire ou tlcharger Wiring Diagrams Nf Only Cub Cadets Gratuitement Cub Cadets at WIRINGGLOBALIMPETUSCOM. Scag Tiger Cub Wiring Diagram. 60 Unique Cub Cadet Model 13wx90as009 Wiring Diagram Pictures- Delightful to be able to my own blog with this moment I will provide you with about cub cadet model 13wx90as009 wiring Here we have 60 great photos about 60 Unique Cub Cadet Model 13wx90as009 Wiring Diagram Pictures.
Wiring Diagram For Cub Cadet Ltx 1046 Wiring Schematic Diagram. Check your fluid level. If your doing one you might as well do bothLTX Wiring Diagram - Cub.
Seat kill switch and reverse kill switch problems simply solved. Huskee Supreme Slt 4600 Wiring Diagram. Frame Electrical and PTO.
Wiring diagram for cub cadet. Cub cadet slt super lawn tractor parts. 15112018 15112018 6 Comments on Cub Cadet Model 13wx90as009 Wiring Diagram.

Cub Cadet Ltx 1040 13wx90as009 Cub Cadet 42 Lawn Tractor 2010 Electrical Schematic Parts Lookup With Diagrams Partstree
Cub Cadet Ltx1040 Tractor 2013 13ax90as056 2013 13ax90as256 2013 13wx90as009 2013 13wx90as010 2013 13wx90as056 2013 13wx90as256 2013 Kohler Sv590 3220 Controls
Cub Cadet Ltx1040 Tractor 2012 13ax90as010 2012 13ax90as056 2012 13ax90as210 2012 13wx90as009 2012 13wx90as010 2012 13wx90as056 2012 13wx90as210 2012 13wx90as256 2012 Kohler Sv590 3220 Ignition Electrical
Cub Cadet Ltx1040 Tractor 2013 13ax90as056 2013 13ax90as256 2013 13wx90as009 2013 13wx90as010 2013 13wx90as056 2013 13wx90as256 2013 Kohler Sv590 3220 Crankshaft
Https Www Ccparts Com Cub Cadet Parts Diagrams Cub Cadet Ltx1040 Tractor 2011 13wx90as009 2011 13wx90as010 2011 13wx90as056 2011 13wx90as210 2011 13wx90as256 2011 Id 4285 4650
Cub Cadet Ltx1040 Tractor 2013 13ax90as056 2013 13ax90as256 2013 13wx90as009 2013 13wx90as010 2013 13wx90as056 2013 13wx90as256 2013 Frame Electrical Pto

Pin On Tractor And Mower Stuff

Diagram 1018 Cub Cadet Wiring Diagram Full Version Hd Quality Wiring Diagram Mediagrame Martamenegatti It
Https Www Ccparts Com Cub Cadet Parts Diagrams Cub Cadet Ltx1040 Tractor 2011 13wx90as009 2011 13wx90as010 2011 13wx90as056 2011 13wx90as210 2011 13wx90as256 2011 Id 4285 4650
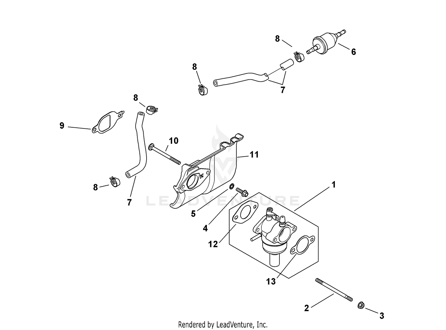
Cub Cadet Ltx1040 Tractor 2013 13ax90as056 2013 13ax90as256 2013 13wx90as009 2013 13wx90as010 2013 13wx90as056 2013 13wx90as256 2013 Kohler Sv590 3220 Fuel System
Cub Cadet Ltx1040 Tractor 2013 13ax90as056 2013 13ax90as256 2013 13wx90as009 2013 13wx90as010 2013 13wx90as056 2013 13wx90as256 2013 Mower Deck 42 Inch
Cub Cadet Ltx1040 Tractor 2012 13ax90as010 2012 13ax90as056 2012 13ax90as210 2012 13wx90as009 2012 13wx90as010 2012 13wx90as056 2012 13wx90as210 2012 13wx90as256 2012 Kohler Sv590 3220 Fuel System
Https Www Ccparts Com Cub Cadet Parts Diagrams Cub Cadet Ltx1040 Tractor 2010 13ax90as009 2010 13ax90as010 2010 13ax90as209 2010 13rx90as056 2010 13rx90as256 2010 13wx90as009 2010 13wx90as010 2010 13wx90as209 2010 Id 4285 4641
Cub Cadet Ltx1040 Tractor 2013 13ax90as056 2013 13ax90as256 2013 13wx90as009 2013 13wx90as010 2013 13wx90as056 2013 13wx90as256 2013 Transmission
![]()
Cub Cadet Ltx 1040 13wx90as009 Cub Cadet 42 Lawn Tractor 2010 Parts Lookup With Diagrams Partstree
Https Weingartz Com Illustrated Diagram Cub Cadet Parts Lookup Model Ltx1040 Tractor 2011 13wx90as009 2011 13wx90as010 2011 13wx90as056 2011 13wx90as210 2011 13wx90as256 2011 4285 4650
Cub Cadet Ltx1040 Tractor 2014 13ax90as010 2014 13ax90as056 2014 13ax90as256 2014 13wx90as009 2014 13wx90as010 2014 13wx90as056 2014 13wx90as256 2014 Label Map

Diagram Cub Cadet Fuses Diagram Full Version Hd Quality Fuses Diagram Beefdiagram Parcodellegite It
Diagram Cub Cadet Model 2155 Wiring Diagram Full Version Hd Quality Wiring Diagram Ediagramming Martamenegatti It
Posting Komentar untuk "13wx90as009 Wiring Diagram"